Apple z nowym patentem. Rozkładane Etui dla iPhone’a, które zwiększy zasięg połączeń satelitarnych
Apple zgłosiło bardzo ciekawy patent. Dotyczy on dodatkowego etui dla iPhone’a, które może być wykorzystane jako ulepszona antena do awaryjnej łączności satelitarnej.
Apple wprowadziło łączność satelitarną (funkcja Alarmowe SOS) razem z premierą iPhone 14. Dostęp do usługi mają obecnie wszystkie nowo produkowane smartfony Apple oraz Apple Watch Ultra dysponują taką funkcją. Niestety, aby z niej skorzystać, należy znajdować się na terenie kraju, który ją oferuje. Na terenie Polski nie jest niestety oferowana (mimo iż przedstawiciele rządów naciskali na Apple w tej sprawie). W przyszłości funkcja ma zostać rozszerzona o możliwość łączenia się z Internetem poprzez sieci satelitów niskoorbitowych ( Low Earth Orbit satellite, w skrócie LEO) oraz sieć Starlink. Zanim to się stanie, trzeba jednak rozwiązać pewien problem.
Apple z niezłym patentem — etui jak antena satelitarna

Apple zgłosiło bardzo ciekawy patent. Dotyczy on dodatkowego etui dla iPhone’a, które może być wykorzystane jako ulepszona antena do awaryjnej łączności satelitarnej.
Apple wprowadziło łączność satelitarną (funkcja Alarmowe SOS) razem z premierą iPhone 14. Dostęp do usługi mają obecnie wszystkie nowo produkowane smartfony Apple oraz Apple Watch Ultra dysponują taką funkcją. Niestety, aby z niej skorzystać, należy znajdować się na terenie kraju, który ją oferuje. Na terenie Polski nie jest niestety oferowana (mimo iż przedstawiciele rządów naciskali na Apple w tej sprawie). W przyszłości funkcja ma zostać rozszerzona o możliwość łączenia się z internetem poprzez sieci satelitów niskoorbitowych ( Low Earth Orbit satelitę, w skrócie LEO) oraz sieć Starlink. Zanim to się stanie, trzeba jednak rozwiązać pewien problem.
Nikt o tym nie mówi (a wspomina o tym Apple w instrukcji), ale nasze urządzenia jak iPhone i Apple Watch Ultra dysponują zbyt małą anteną, a co za tym idzie mocą nadajnika. Przez to nawet gęste listowie drzewa może uczynić próbę połączenia satelitarnego niemożliwą. Nie ma się jednak czemu dziwić, w końcu funkcja ta projektowana była jako awaryjna opcja.
Rozwój sieci Starlinków i komercjalizacja sieci satelitów LEO stwarzają jednak duże możliwości. W niedalekiej przyszłości (w sumie to testowo już teraz) możliwe będzie połączenie się z internetem poprzez łączność satelitarną. Niestety nadal problemem może tu być zasięg.

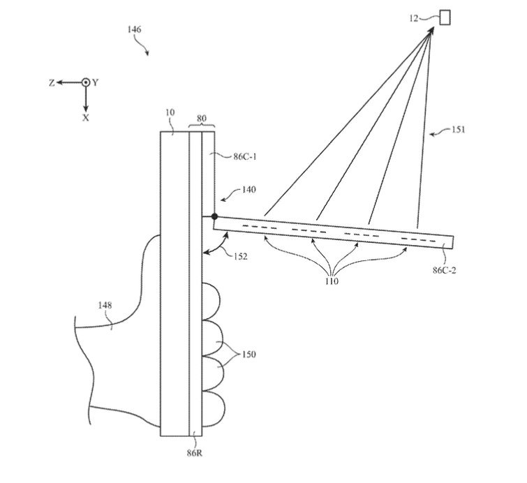
Apple właśnie opatentowało sposób, jak można go będzie znacząco polepszyć. Do urzędu patentowego trafił wniosek, w którym widzimy dodatkowe etui dla iPhone’a (oraz iPada), które po rozłożeniu staje się dodatkową anteną dla modułu satelitarnego. Znacząco zwiększa ono moc i zasięg transmisji.
Takie etui może być łączone poprzez NFC, Bluetooth lub za pomocą dodatkowego konektora, podobnego do tego w iPadzie (w opcji dla iPada). Dodatkowo obudowa ma rozkładaną powierzchnię, dzięki której nie ma możliwości, by zasłonić antenę poprzez chwycenie etui w niewłaściwy sposób. Jak podkreślają komentatorzy, takie rozwiązanie znacznie wpłynie na szybkość i możliwości transmisji satelitarnej, co będzie kluczowe przy obsłudze internetu.
Trzymamy więc kciuki za pomysł Apple i za to, żeby taka łączność w koncu trafiła i do nas!
